Reeder et al.4 studied of the excess volumes of mixtures of (1) and (2) at 298.596 K. Beysens and Tufeu6 determined of the variation of the critical temperature as a function of pressure (from 500 to 12500 kPa). Khosla and Widom7 determined the densities and surface tensions of the equilibrium liquid phases critical mixture of (1) and (2) between 288 and 300 K. Pegg and McLure10 studied shear viscosities and densities of the equilibrium liquid phases in critical mixtures of (1) and (2) between 292 and 300 K. Apart from one further publication8 which did not contain sufficient information to justify inclusion, all original data are compiled in the data sheets immediately following this Critical Evaluation.
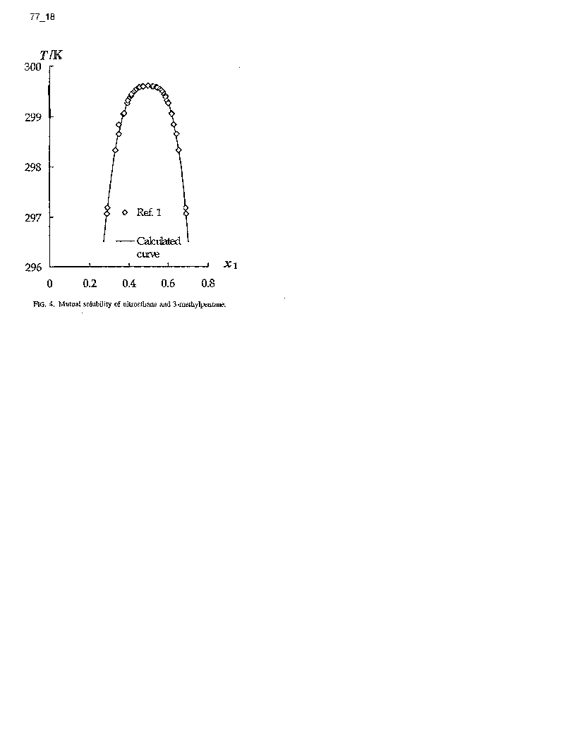
All experimental values reported in Wims et al.1 (treated with the same weighing factor) were approximated by an equation based on the scaling law (described in the preface to this volume) for which the following parameters were derived: a1 = 0.969 85, a2 = -0.596 64, b1 = -0.000 33, b2 = -0.734 08
(mean standard error of estimate was 0.0051).
For this approximation xc1 and UCST from five references1-3,6,8 were used. In the opinion of the evaluator, the mutual solubilities calculated by this equation may be treated as tentative. The results of calculations for selected temperatures are presented in Table 2 and Table 3. This relationship together with experimental points reported in Wims et al.1 is also presented in Fig. 4.
The upper critical solution temperature has been reported as 293.2 K (Balasubramanaian and Mitra5), 299.09 K (Burstyn and Sengers8), 299.545 K,7 299.574 K, 2 299.600 K,6,9 299.608 and 299.622 K [Wims et al.,1 two methods] and 299.692 K.3 The data of Balasubramanaian and Mitra5 are in marked disagreement with all other studies and are rejected. The UCST of Tanaka and Wada,8 also is rejected. Thus, the recommended value are: Tc = (299.604 ±0.032) K.
The corresponding critical solution composition has been reported as xc1 = 0.500.1-3,6,8 This value is recommended.
Table 2. Mutual solubility of nitroethane and 3-methylpentane
| C T (K) | D 100w1 | D x1 |
|---|---|---|
| 297.0 | 26.0 | 2.87 x 10-1 |
| 297.5 | 27.4 | 3.02 x 10-1 |
| 298.0 | 29.1 | 3.20 x 10-1 |
| 298.5 | 31.2 | 3.42 x 10-1 |
| 299.0 | 34.0 | 3.72 x 10-1 |
| 299.1 | 34.8 | 3.80 x 10-1 |
| 299.2 | 35.7 | 3.88 x 10-1 |
| 299.3 | 36.6 | 3.99 x 10-1 |
| 299.4 | 37.9 | 4.12 x 10-1 |
| 299.5 | 39.6 | 4.30 x 10-1 |
Table 3. Mutual solubility of nitroethane and 3-methylpentane
| C T (K) | D 100w1 | D x1 |
|---|---|---|
| 297.0 | 66.2 | 6.92 x 10-1 |
| 297.5 | 64.9 | 6.80 x 10-1 |
| 298.0 | 63.5 | 6.66 x 10-1 |
| 298.5 | 61.6 | 6.48 x 10-1 |
| 299.0 | 58.9 | 6.22 x 10-1 |
| 299.1 | 58.2 | 6.15 x 10-1 |
| 299.2 | 57.5 | 6.08 x 10-1 |
| 299.3 | 56.4 | 5.98 x 10-1 |
| 299.4 | 55.2 | 5.86 x 10-1 |
| 299.5 | 53.5 | 5.69 x 10-1 |
Figure
References:
1
Wims, A. M.; McIntyre, D.; Hynne, F.; J. Chem. Phys. 50, 616-20 (1969).
2
Stein, A.; Allegra, J. C.; Allen, G. F.; J. Chem. Phys. 55, 4265-9 (1971).
3
Tsai, B. C.; McIntyre, D. J.; J. Chem. Phys. 60, 937-45 (1974).
4
Reeder, J.; Block, T. E.; Knobler, C. M.; J. Chem. Thermodyn. 8,133-40 (1976).
5
Balasubramanaian D.; Mitra, P.; J. Phys. Chem. 83, 2724-7 (1979).
6
Beysens D.; Tufeu, R.; Rev. Phys. Appl. 14, 907-9 (1979).
7
Khosla, M. P.; Widom, B.; J. Colloid Interface Sci. 76, 375-392 (1980).
8
Burstyn, H. C.; Sengers, J. V.; Phys. Rev. A. Gen. Phys. 55, 448 (1982).
9
Tanaka, H.; Wada, Y.; Chem. Phys. 78, 143-9 (1983).
10
Pegg, I. L.; McLure, I. A.; Mol. Phys. 53, 897-916 (1984).