Solubilities in the system comprising nitromethane and dodecane have been reported in two publications. Malesinska1 measured the mutual solubilities of the two components between 389 and 409 K by the synthetic method. Schmid et al.2 determined the upper critical solution temperature, also using the synthetic method.

At the UCST, the only temperature where direct comparison is possible, the two studies are in rather poor agreement: 405.7 K (Schmid et al.2) and 408.80 K (Malesinska1). Accordingly, in the absence of confirmatory studies, all data must be regarded as tentative. However, it may be noted that the UCST values of Schmid et al.2 in well characterized systems are generally lower than other reports and thus the value from Malesinska1 is probably more realistic. The corresponding critical solution composition has been reported1 as

100 w1 = 57.4, xc1 = 0.790.

The numerical values reported in Malesinska1 have been approximated by the equation based on scaling law (described in the Introduction material to this volume "Relations of Solubility Data in Binary Systems Containing Nitromethane") and the following parameters have been adjusted:

a1 = 0.62515, a2= 0.75509, b1 = 7.91427, b2 = -7.27033

(mean standard error of estimate was 0.0173).

For approximation also xc1 and UCST from Malesinska1 have been used. Tc, xc1 and mutual solubility data in nitromethane - n -alkane series reported by Malesinska1 are very close to these values calculated in the series as well as to the particular recommended data in each of the investigated systems. Therefore in the opinion of the evaluators, the mutual solubilities calculated by this equation may be treated as tentative.

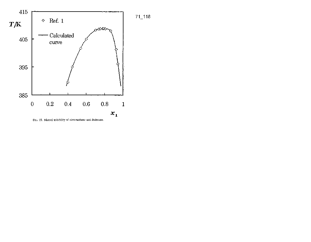
The results of calculations for the selected temperatures are presented in the following table. This relationship, together with experimental points reported in Malesinska,1 is also presented in Figure 19 .

Mutual solubility of nitromethane and dodecane
C T (K) D 100w1 D x1
388.2 18.17 3.825 x 10-1
388.2 93.89 9.772 x 10-1
393.2 21.34 4.308 x 10-1
393.2 89.22 9.585 x 10-1
398.2 25.53 4.889 x 10-1
398.2 84.43 9.380 x 10-1
403.2 31.75 5.648 x 10-1
403.2 78.93 9.127 x 10-1
404.2 33.46 5.839 x 10-1
404.2 77.58 9.062 x 10-1
405.2 35.46 6.052 x 10-1
405.2 76.06 8.987 x 10-1
406.2 37.88 6.299 x 10-1
406.2 74.25 8.895 x 10-1
407.2 41.03 6.601 x 10-1
407.2 71.9 8.772 x 10-1
408.2 45.93 7.033 x 10-1
408.2 68.09 8.562 x 10-1

Figure
Solubility graph
None
References:

1 Malesinska, B.; Bull. Acad. Pol. Sci.; Ser. Sci. Chim. 8, 53 (1960).
2 Schmid, H. H. O.; Mangold, H. K.; Lundberg, W. O.; J. Am. Oil Chem. Soc. 42, 372 (1965).